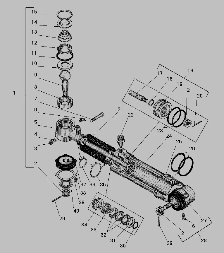
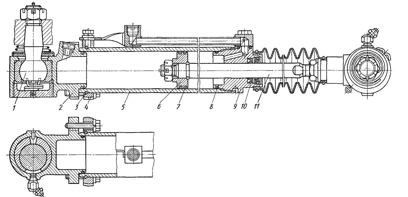
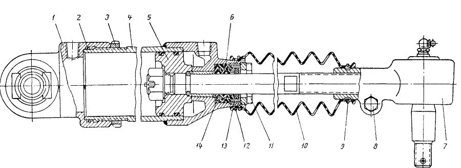
Цилиндр рулевой урал