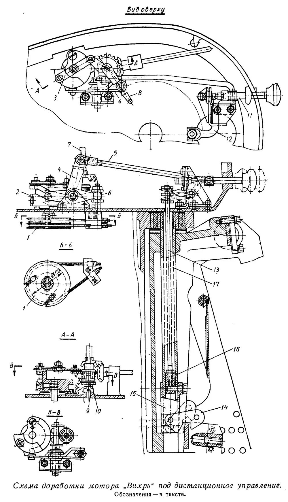
Управление вихрь