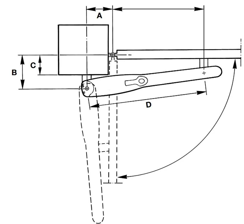
Установка распашных ворот nice