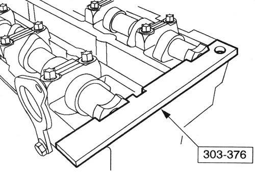
Установка распредвалов форд фокус 2