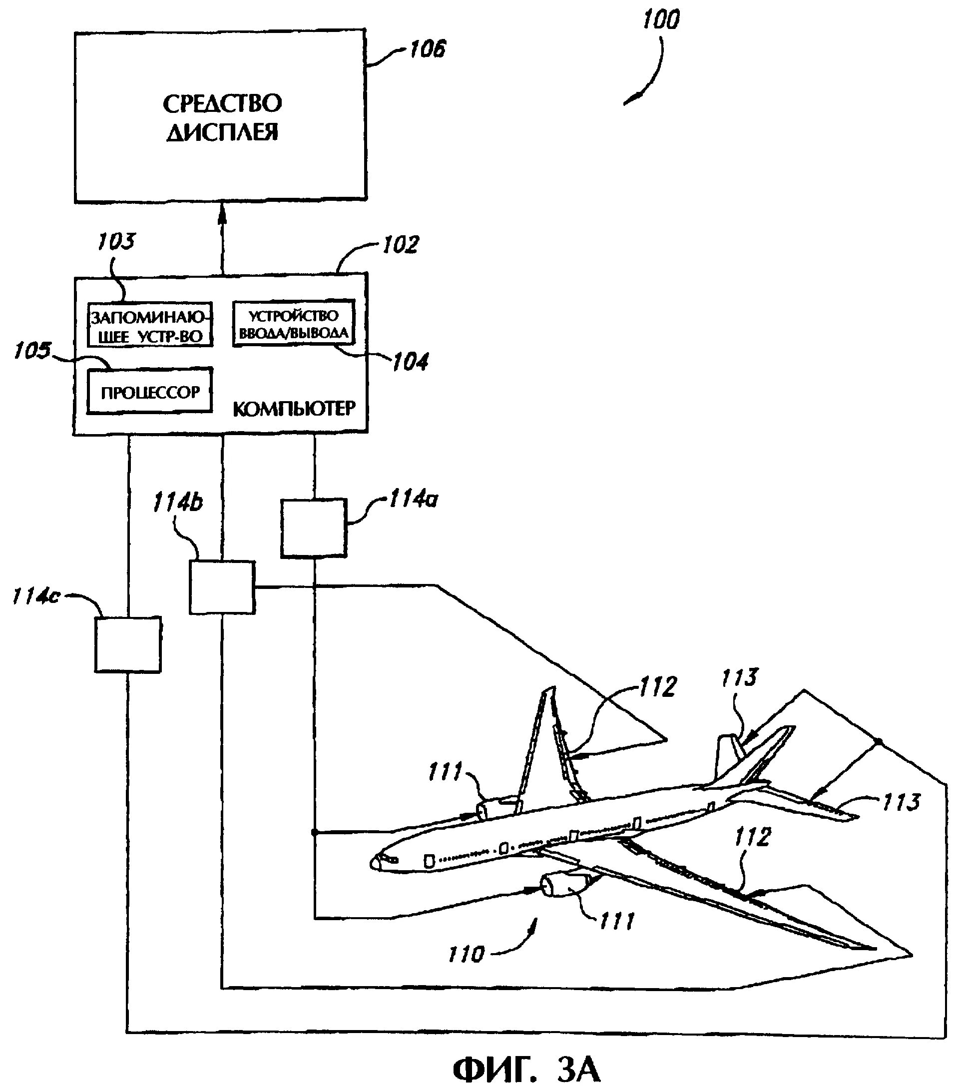
Устройство полета самолета