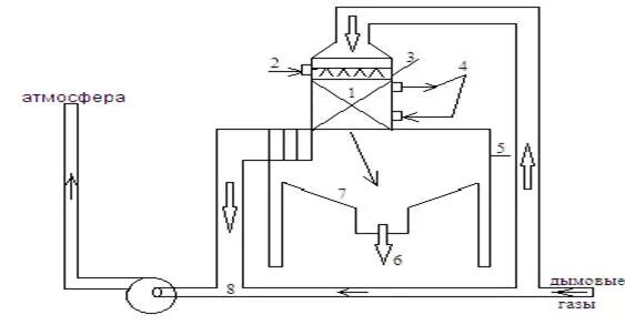
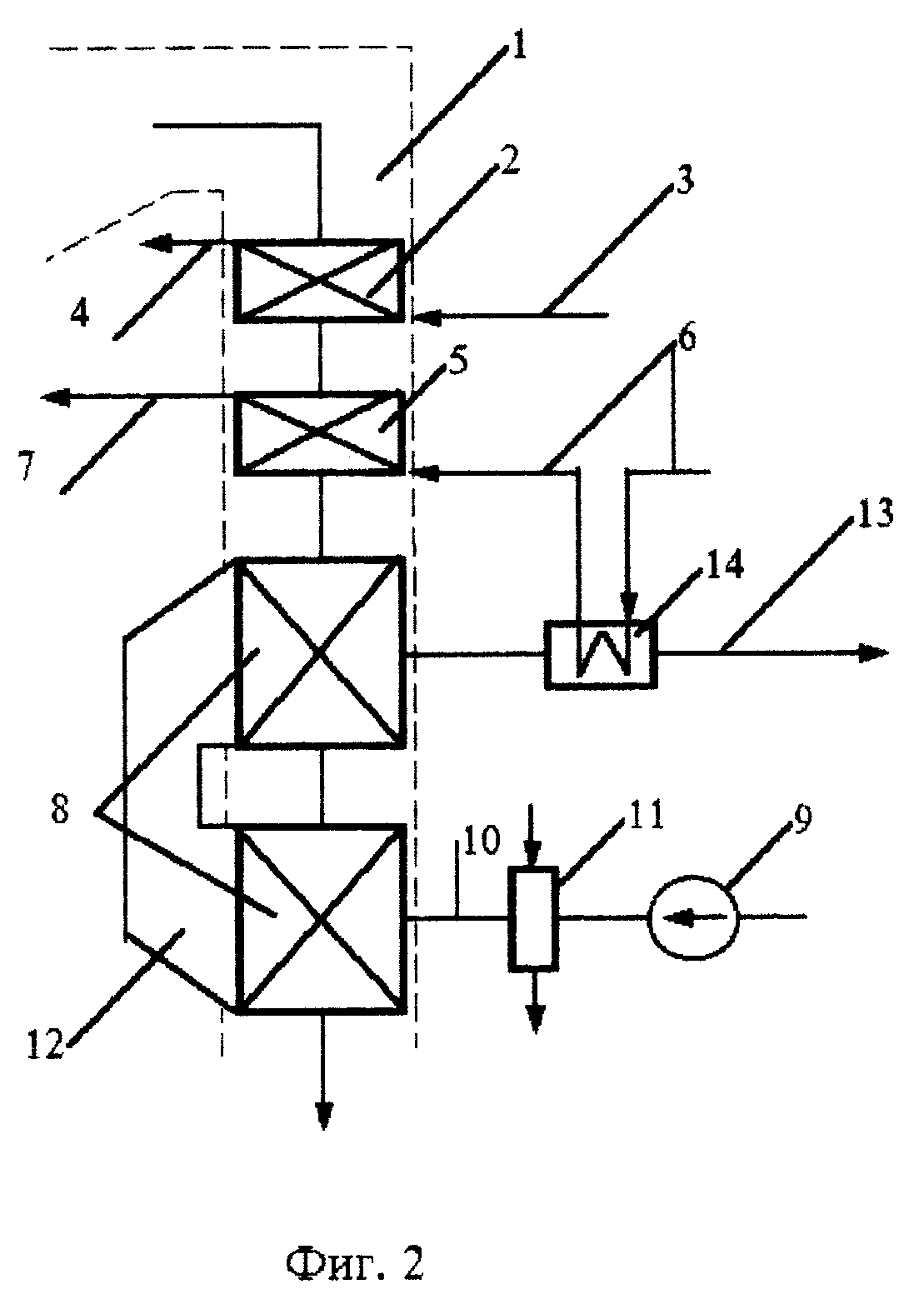
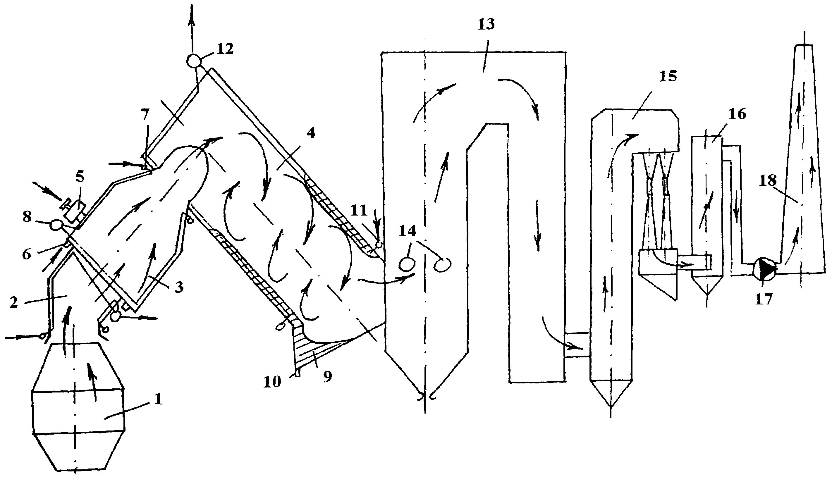
Утилизация дымовых газов