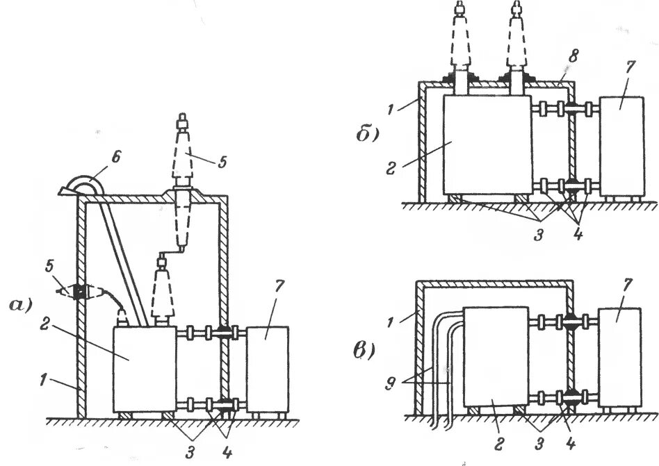
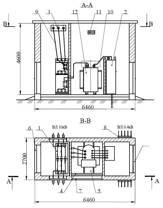
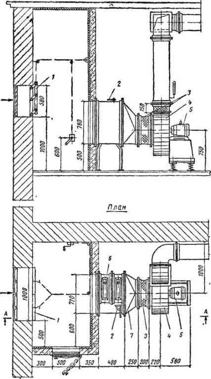
Вентиляция камеры трансформатора