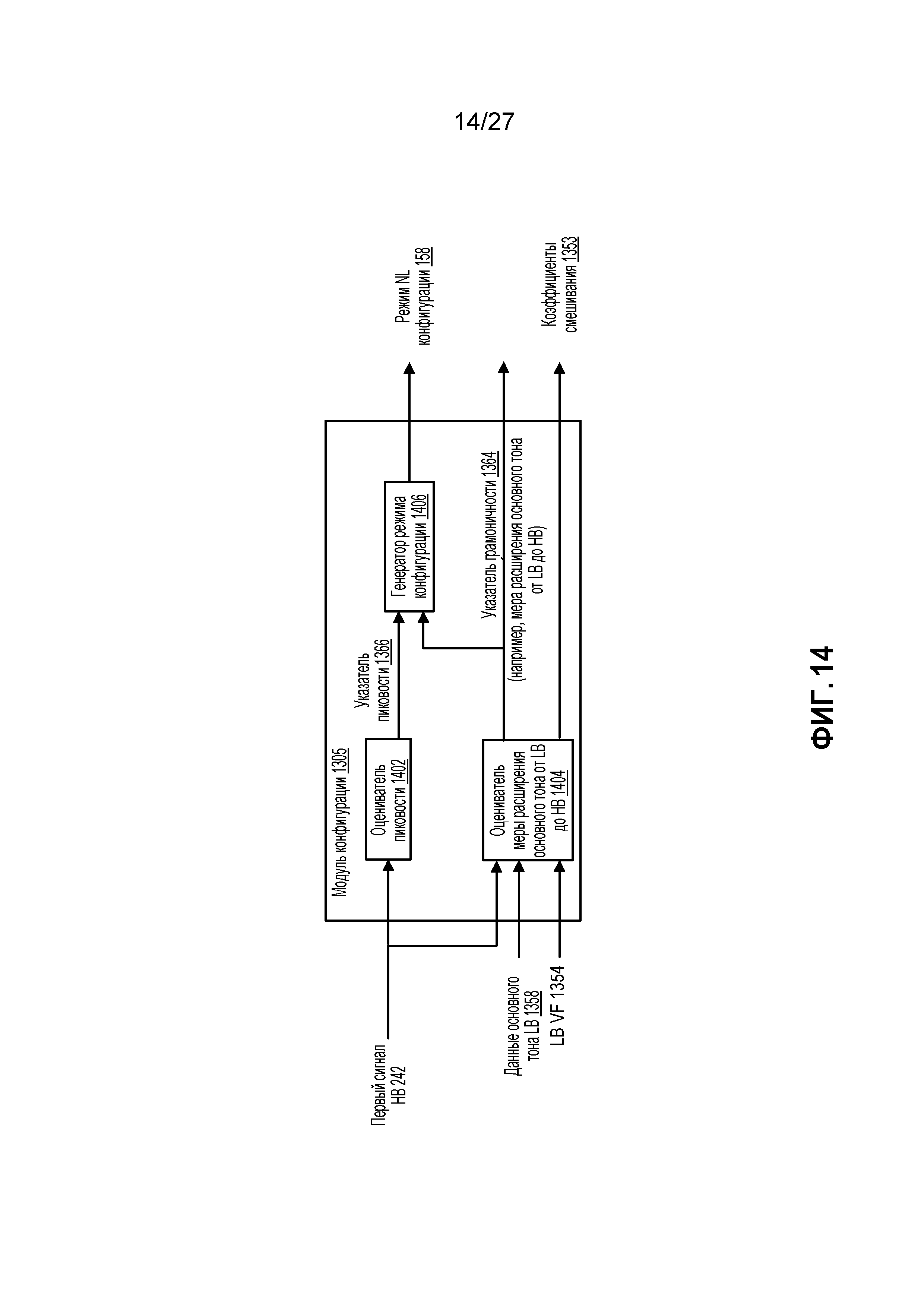
Верхний сигнал