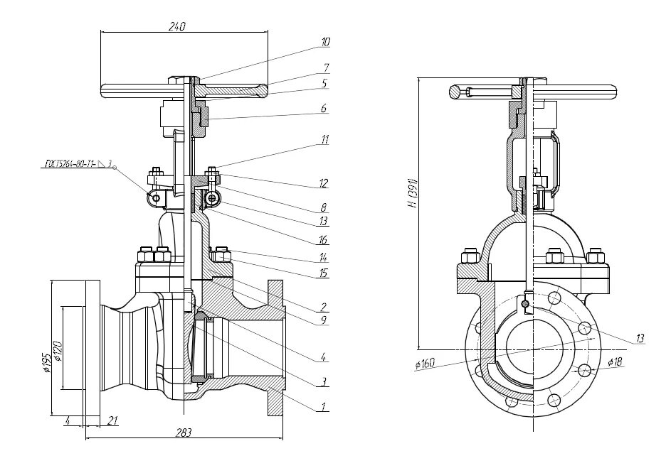
Виды заслонок