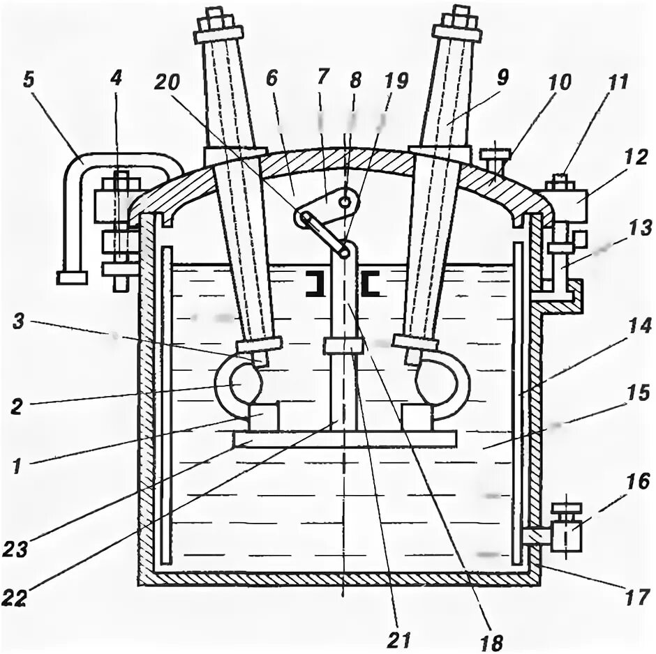
Вм 22