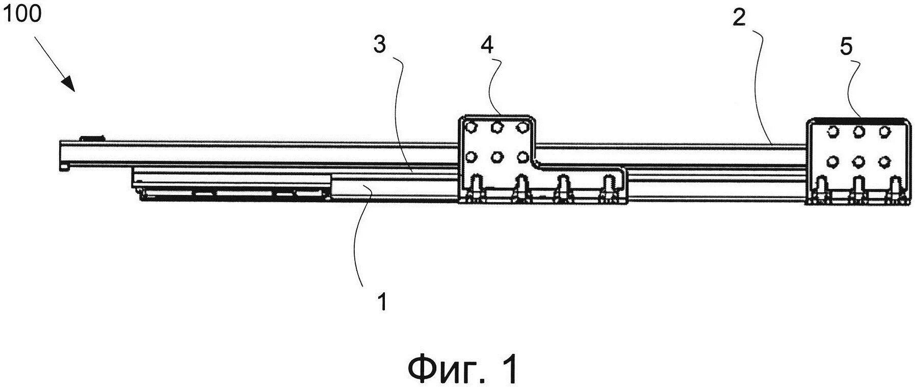
Выдвижная конструкция