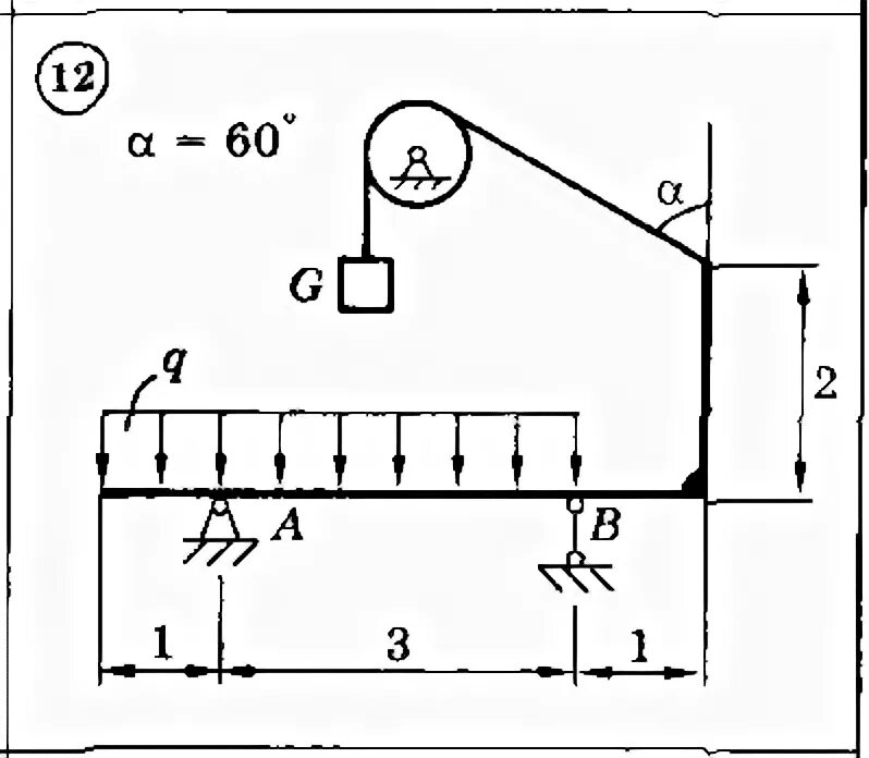
Задание 12 вариант 21