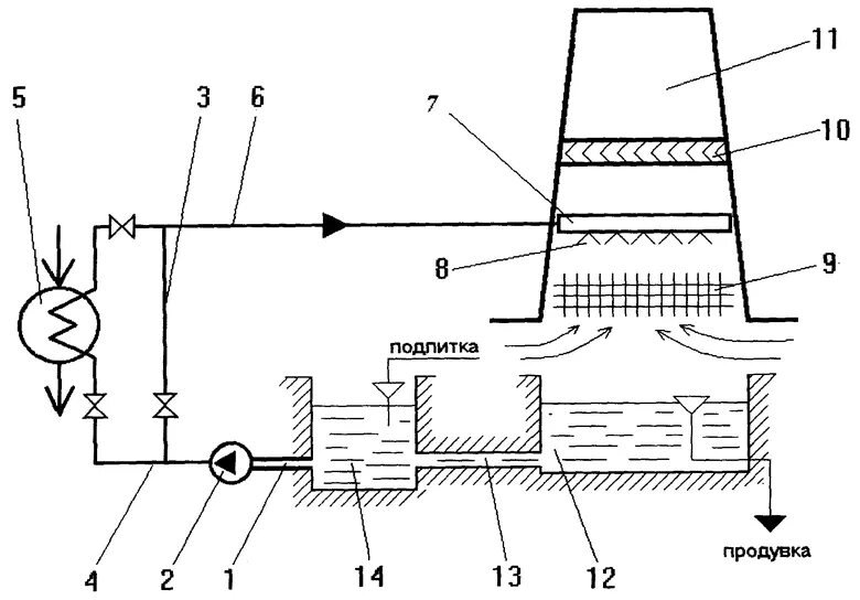
Замкнутая система водоснабжения