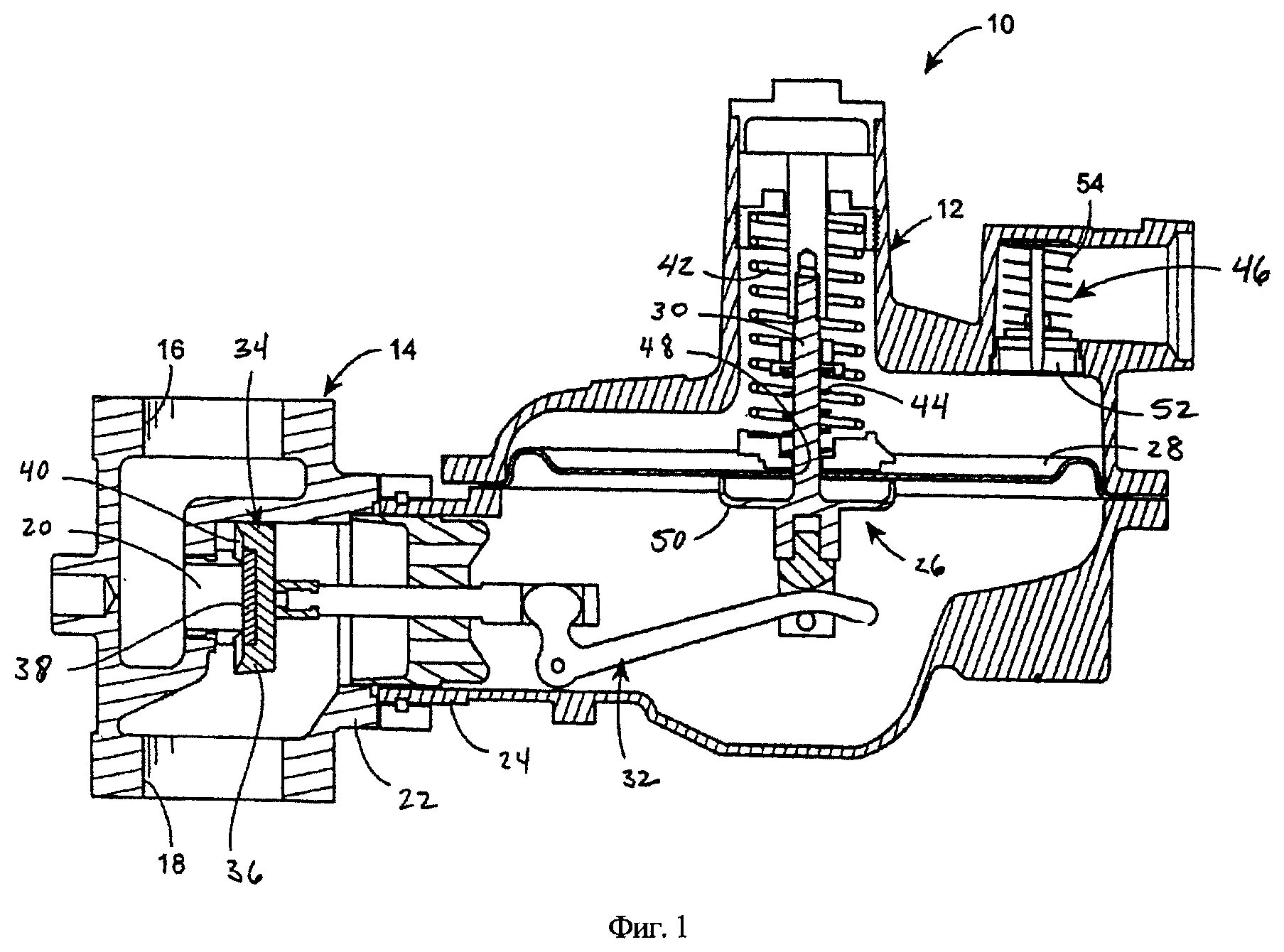
Завод регулятора давления